Produktnummer: 133_SP_20×70_SP
Produktinformationen "Holzbearbeitungsspitze TYP 133 SP 20×70 - SP"
Holzbearbeitungsspitze TYP 133 SP 20×70
Produktbeschreibung
Die Holzbearbeitungsspitze TYP 133 SP 20×70 ist ein hochwertiges und kosteneffizientes Werkzeug für die Holzbearbeitung. Ihre speziell entwickelte Spitzengeometrie ist optimal für Stirnholzstrukturen ausgelegt. Der gehärtete und geschliffene MK-Schaft sowie die aus durchgehärtetem Werkzeugstahl gefertigte Körnerachse sorgen für eine hohe Rundlaufgenauigkeit und einen extrem leichten Lauf. Dank der wartungsfreien Dauerschmierung und der Labyrinthabdichtung wird eine lange Lebensdauer gewährleistet.
Wichtige Merkmale
- Kosteneffizient: Hochwertige Holzbearbeitungsspitze zu einem attraktiven Preis.
- Optimierte Spitzengeometrie: Perfekt für die Bearbeitung von Stirnholzstrukturen.
- MK-Schaft: Gehärtet und geschliffen für höchste Präzision.
- Hohe Rundlaufgenauigkeit: Für einen extrem leichten Lauf.
- Wartungsfreie Dauerschmierung: Verlängert die Lebensdauer des Werkzeugs.
- Labyrinthabdichtung: Schutz vor Staub und Verschmutzungen.
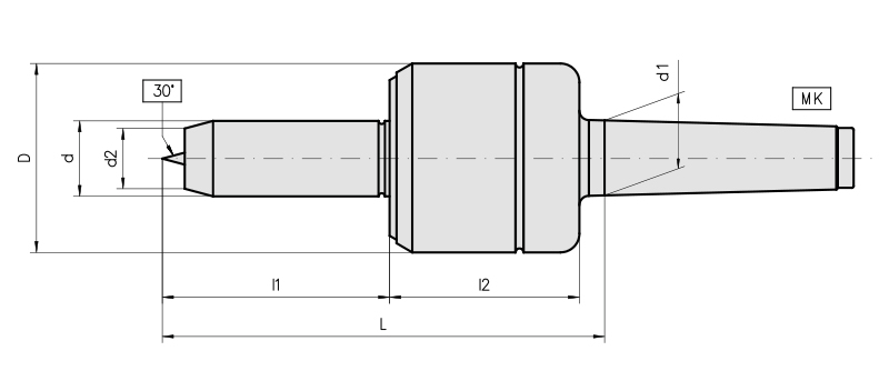
Technische Daten
| Eigenschaft | Wert |
|---|---|
| MK | 3 |
| D | 60 mm |
| d | 20 mm |
| d1 | 23,83 mm |
| d2 | 18 mm |
| Länge (L) | 138 mm |
| l1 | 70 mm |
| l2 | 60 mm |
Anwendungsbereiche
Die Holzbearbeitungsspitze TYP 133 SP 20×70 ist ideal für präzise Holzbearbeitungen in industriellen und handwerklichen Anwendungen.


.jpg)
.jpg)